Sobinco 6760C haakslot

6760C - Stedagroep Insteeksloten
MPN: 6760C EAN: DGE: 12274 Locatie: Merk: Stedagroep
Levertijd: 3 – 5 werkdagen
Uw prijs:
101,64 (84,00 excl. BTW)
  • Gratis verzending vanaf €50 excl. btw
  • Bestelling af te halen bij afhaalbalie in Schijndel
  • Montage service op aanvraag
  • Klantbeoordeling van 4,6/5
Productbeschrijving

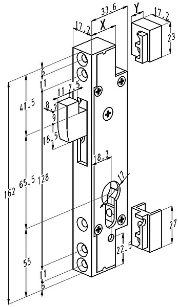
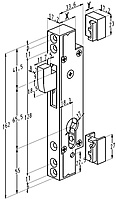
Sobinco 6760C haakslot voor onder andere in schuifdeuren. 6760C X =22,6 Y=11 ZAMAC. zie de maat X en Y op de maattekening. Dit haakslot of schuifdeurslot met valschoot is zeer robuust

Productspecificaties
Doornmaat 18mm
33.6x17.2x162mm
Haakslot
Sobinco
Downloads

Geen downloads beschikbaar bij dit product.

[RESULT]
Sobinco 6760C haakslot

6760C